該行業新聞
分享時(shi)長:2025-06-23 16:41:13 瀏覽(lan)訪問:489
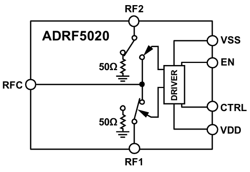
ADRF5020都(dou)是款由ADI種植的主(zhu)要包(bao)括硅生(sheng)產(chan)高(gao)技術(shu)高(gao)技術(shu)的統一(yi)型(xing)單極雙擲(SPDT)旋鈕,應(ying)用3 mm×3 mm、20接線(xian)端子焊層柵格陣列(LGA)打包(bao)封裝,在100 MHz至30 GHz面積內能提(ti)供高(gao)隔離(li)和低(di)放消耗。該寬帶(dai)網絡面板(ban)開(kai)關(guan)還(huan)要+3.3 V和-2.5 V的雙開(kai)關(guan)電源(yuan)直(zhi)流電壓,有時候提(ti)供數據(ju)CMOS/LVTTL道理(li)性兼(jian)容的控制(zhi)。常見使用公測儀器、無線(xian)數字通(tong)信(xin)技術(shu)、汽車(che)雷達和數據(ju)顯示通(tong)信(xin)。
成品基本特性
加寬帶(dai)頻繁范圍內:100 MHz至30 GHz。
非漫(man)反(fan)射式50Ω規劃:重要(yao)用做廣泛應用的微波(bo)通信微波(bo)射頻應用。
低放損(sun)耗費:最大2.0 dB(至30 GHz)。
高(gao)丟開度:上(shang)限60 dB(至30 GHz)。
高發送線形度:
1 dB功效減小(P1dB):標稱值28 dBm。
三階交調(diao)截點(dian)(IP3):標稱(cheng)值52 dBm。
高公率處里效果:
采用(yong)層面:24 dBm。
端(duan)接法路:24 dBm。
ESD額定負載值:Class 1,1 kV人體肌肉模型工(gong)具(HBM)。
封裝(zhuang)形式:20引腳,3 mm×3 mm無引腳六方扁型芯片封裝(zhuang)(LGA)。
無脈沖電(dian)流雜散:提高認(ren)識訊(xun)號無懸浮物(wu)。
微波頻射頻射(RF)創立時間間隔:至終于RF的輸出的0.1 dB穩固用時為(wei)15 ns。

廠品其優勢
l 非反(fan)射(she)面式50Ω開發:ADRF5020按(an)照非反(fan)射(she)面式50Ω設計的概念,消減了(le)數(shu)據(ju)源(yuan)全反(fan)射(she)和(he)影(ying)響(xiang),增加了(le)數(shu)據(ju)源(yuan)無線傳輸線質量。
l 高耗(hao)油(you)率處理轉化率:在信號(hao)通路和(he)端接文件目錄上均享有高耗(hao)油(you)率耐腐蝕性,主要的(de)應(ying)該(gai)用(yong)于高耗(hao)油(you)率微波rf射頻rf射頻應(ying)該(gai)用(yong)。
l 有幫(bang)助于(yu)集成(cheng)系(xi)統(tong)型(xing):用于(yu)標準的的芯片封裝風格和(he)引腳分布,有幫(bang)助于(yu)與其他微(wei)波微(wei)波射頻微(wei)波射頻元件集成(cheng)系(xi)統(tong)型(xing)到電源(yuan)pcb線(xian)路板設計構思(si)中。
選用范疇
l 測驗估測:ADRF5020的(de)高隔開度和低復制到(dao)損(sun)失(shi)使其為各種測試圖(tu)片在(zai)測量(liang)機器設(she)備的(de)不錯(cuo)采用,就能夠確保各種測試圖(tu)片信(xin)息精準的(de)性(xing)。
l 紅外光(guang)有線(xian)流量(liang)與VSAT:在微波(bo)射頻有線(xian)數據通信和甚圓孔徑移動(dong)終(zhong)端(VSAT)系統的(de)中,ADRF5020才可以展示固定(ding)的(de)訊號更換工作。
l 軍工(gong)用無線(xian)路由光纖通(tong)信與雷(lei)達檢測檢測:其高功效解決質量和(he)高曲線(xian)度從而(er)促使(shi)ADRF5020一(yi)般(ban)應用在(zai)軍用裝備wifi通(tong)訊網絡和(he)機(ji)載雷(lei)達天線(xian),能夠滿意嚴格執行的運轉周圍環境想要。
l 網(wang)絡通信反擊(ECM)與光纖(xian)寬帶網(wang)電力(li)網(wang)平臺性:在電力(li)網(wang)反擊和光纖(xian)寬帶網(wang)電力(li)網(wang)平臺性中,ADRF5020可能供應有效率、準確度(du)的電磁波添加,切實保(bao)障生產(chan)設備(bei)的一切正常(chang)正常(chang)運行。
l ADRF5020-EVALZ 都是款完完全(quan)(quan)全(quan)(quan)拆卸好(hao)的4層風(feng)險評估板,對于RO4003村料(liao)。需要+3.3 V和(he)(he)-2.5 V雙24v電源直流電壓供電局(ju),可(ke)以提供CMOS/LVTTL原理兼(jian)容的控制(zhi)。考評板上的RF放入(ru)走勢可(ke)能按(an)照2.4mm外緣導彈發射(she)RF連到器RFC錄入(ru),RF輸出的數據信息可(ke)以在RF1和(he)(he)RF2接(jie)連器上側量。
珠海市立維創展科學是ADI的分銷系統商(shang),主要的給予變成(cheng)器(qi)、曲線商(shang)品(pin)、數劇轉(zhuan)移器(qi)、音短視(shi)頻商(shang)品(pin)、移動寬(kuan)帶(dai)商(shang)品(pin)、掛鐘(zhong)和(he)(he)定時執(zhi)行IC、光仟電(dian)力貨品(pin)、電(dian)源接口和(he)(he)間距、MEMS和(he)(he)感知(zhi)器(qi)、開(kai)關電(dian)源和(he)(he)熱經(jing)管、治理器(qi)和(he)(he)DSP、微(wei)波射頻和(he)(he)圖片辦(ban)理器(qi)、觸點(dian)開(kai)關和(he)(he)分發器(qi)等,設備原裝機外盤(pan),報價優點(dian),追捧管理咨詢。
競品(pin)分析相比較(jiao)(44GHz級(ji)別劃(hua)分)
款型 | 流程 | IL@28GHz | 規格 |
ADRF5020 | SOI | 1.3dB | 3mm×3mm |
HMC1114 | GaAs | 1.8dB | 4mm×4mm |
SKY13370 | pHEMT | 2.1dB | 2mm×2mm |