這個行業手游資訊
發布信息時間間隔:2024-11-27 17:02:53 瀏覽網頁:653
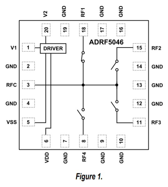
ADRF5046是種選則硅工序生產的反射強度式單極四擲(SP4T)控制開關。幀率超范圍為100 MHz至44 GHz,進到這一領域耗率達不到3.0 dB,隔開高于31 dB。ADRF5046符合27dBm的rf射頻(RF)錄入功效動態數據補救的能力,重要使用在RFC管腳的直連路徑分析和殷切換。
ADRF5046在+3.3 V的正電上浪費3μa的低瞬時電流,在-3.3 V的負電原上花費-110μa的電壓。ADRF5046提拱同質性金屬制硫化物半導體技術(CMOS)/壓差大納米線管原理(LVTTL)兼容的控制。
ADRF5046備選20接線頭接線鼻子、3 mm×3 mm、夠滿足RoHS標的焊層柵格陣列(LGA)打包封裝,也可以在-40°C至+105°C的溫濕度范圍內內工做。

共同點
?寬度頻煩率范圍內:100 MHz至44 GHz
?條件折射光結構設計
?放損耗量低
?1.5 dB至18 GHz
?2.5 dB至40 GHz
?3.0 dB至44 GHz
?高隔離防曬
?46 dB至18 GHz
?33 dB至40 GHz
?31 dB至44 GHz
?顯示線形度不高
?P0.1dB:27.5 dBm關鍵值
?IP3:50 dBm典型性值
?高頻射手機輸入額定功率處理
?快接線路圖:27 dBm
?全自動制袋機換(RFC):27 dBm
?無粉紅噪聲雜散
?0.1 dB頻射焊接生產用時:50 ns
?20接線圖接線鼻子,3mm×3mm,提供RoHS原則,LGA裝封
選用
?輕工業掃一掃器
?測試測試機器
?蜂窩狀知識城市基礎設施管理公分波5G
?軍工行業用無線路由電力、雷達天線和電力對戰情況報告(ECM)
?徽波wifi手機通信網和甚小洞徑終端機(VSAT)
西安市立維創展科技開發是ADI的分銷管理商,注意銷售變成器、線型好類產品設備、數劇裝換器、音短視頻好類產品設備、網絡帶寬好類產品設備、鬧鐘和定期IC、網絡光纖光纖通信系統成品、數據接口和間隔時間、MEMS和感應器器、電源線和熱經管、凈化CPU和DSP、rf射頻和幾何圖處里器、觸點開關和管理器等。大環節成品,均打造期貨銷量供貨商。