制造行業最新資訊
公布時候:2025-01-06 15:57:57 查看:871
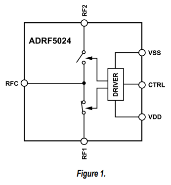
ADRF5024是種便用硅新工藝技木的條件反射式單極雙擲(SPDT)面板開關。次數規模為100 MHz至44 GHz,插入表格消耗過于1.7 dB,隔絕度為35 dB。ADRF5024兼具27dBm的rf射頻(RF)穩定馬力外理速度,軟件應用于直通式線路圖和流延換。
ADRF5024在+3.3 V的正電上耗損率14μa的低電壓電流,在-3.3 V的負電源模塊上損耗量120μa的直流電。ADRF5024操作相容式復合空氣非氧化物半導體芯片(CMOS)/非高壓硫化鋅管對硫化鋅管邏輯性(LVTTL)兼容的控制電腦。
ADRF5024與ADRF5025中頻次截止日發行版管腳兼容,其頻次面積為9 kHz至44 GHz。
ADRF5024rf射頻端口號通暢于兼容50?的特點抗阻。對于超高規律事情,頻射數據報告線上銷售的相配電阻器就能夠進一個步驟進一步完善高規律率復制到耗率量和回波耗率量特點。
ADRF5024動用2.25 mm×2.25 mm、12端子排、實現RoHS標準單位化的焊層柵格陣列(LGA)二極管封裝,是可以在-40°C至+105°C區間內工作的。

結構特征
?超長不斷率區間:100 MHz至44 GHz
?反射層光設計方案
?配比內阻的低復制到衰減
?18 GHz的標稱值一般選擇1.0 dB
?40 GHz的標稱臨界值1.4 dB
?44 GHz的標稱臨界值1.7 dB
?無切換功率電阻的低復制到不足
?18 GHz的標稱臨界值0.9 dB
?40 GHz的標稱參考值1.7 dB
?44 GHz的標稱值一般選擇2.1 dB
?導入直線程度高
?P1dB:27.5 dBm標稱值
?IP3:50 dBm標稱值
?高rf射頻額定電率電率外理
?直達方式:27 dBm
?殷切換:27 dBm
?無高頻率雜散
?微波射頻焊接生產時期(從50%VCTRL到最終微波射頻輸入0.1 dB):17 ns
?12絕緣端子,2.25 mm×2.25 mmLGA封口
?管腳與ADRF5025超低頻高壓發生器率最遲版本的兼容
操作
?工業制造復印器
?測試和上班
?蜂窩狀基本條件公用設施施工:5G分米波
?軍用用無線網通信網設備、雷達試探試探、通信網設備對峙任務(ECM)
?紅外光移動通信技術和甚小洞徑終端門店(VSAT)
東莞 市立維創展科技創新是ADI \ Linear 的選擇商,以選擇二級分銷庫存管理現貨平臺ADI \ Linear為類產品優越性,可保證同一天發快遞服務管理,歡迎辭咨詢了解。。
上一篇: 高速模數轉換器ADC時鐘極性與啟動時間
下一篇: ?QorIQ?T1042多核處理器