業信息
上架用時:2024-05-20 08:59:27 預覽:5883
| LEAD FREE FINISH | TAPE AND REEL | PART MARKING* | PACKAGE DESCRIPTION | TEMPERATURE RANGE |
| LTC2158CUP-14#PBF | LTC2158CUP-14#TRPBF | LTC2158UP-14 | 64-Lead (9mmx9mm)Plastic QFN | 0*Cto 70℃ |
| TC2158IUP-14#PBF | LTC2158IUP-14#TRPBF | LTC2158UP-14 | 64-Lead (9mmx9mm)Plastic QFN | -40°℃ to 85℃ |

主要特性:
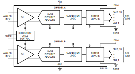
- 雙過道一起取樣:LTC2158-14可以一起對的兩個4g網絡信號來進行取樣,取樣傳輸速度超過310Msps,更適合加工處理高速度4g網絡信號。 - 高AC安全性能:具備著68.8dB的信噪比(SNR)和88dB的無內寄生動態圖片範圍(SFDR),這對於增加電磁波的清晰明了度和少不干擾至關關鍵。 - 寬錄入資源資源帶寬:1.25GHz的錄入資源資源帶寬支持ADC對高頻率數據做出欠取樣,的同時保持著樣板工程的耐熱性。 - 低延期:轉成延期僅為6個秒表過渡期,這對於城市熱力圖正確處理和短時間反應設計具體需求特別極為重要。 - 精確度高的DC規格參數:在所有溫度條件內,集分非線形(INL)為±1.2LSB(舉例值),微分非線形(DNL)為±0.35LSB(舉例值),且無漏失碼,為了保證了轉成的正確性。 - 低轉成燥聲源:2.11LSB RMS的轉成燥聲源能有效的不斷提高無線信號的清洗度。 - 多倍數值強度(DDR)LVDS模擬輸入輸出:這個模擬輸入輸出usb接口款式助于減掉數值傳輸數據時的功能消耗和躁聲。 - 具備比較靈可溶性高的掛鐘進入:ENC+和ENC-進入需要提高各種各樣信號燈類別,例如余弦波、PECL、LVDS、TTL或CMOS,提高了安裝驅動掛鐘的具備比較靈可溶性高性。 - 秒表占空比不平衡性器:待選的秒表占空比不平衡性器狠抓在有所差異的秒表占空比前提下都能保證性能比較高指標。 - 低功能消耗:總功能消耗為724mW,適用于對功能消耗明感的適用。 - 單1.8V24v24v電源:減化了24v24v電源設計制作。 - 節約能源形式 :帶來休息和打盹形式 ,這樣有利于進一個步驟大幅度降低能耗。 - 串行SPI端口設置:使用在搭配和管控ADC。 - 引腳兼容問題:與12位功率器件舊版本引腳兼容,有助更新或修改。 - 封口:運用64引腳(9mm x 9mm)QFN封口,促進保證省油的suv的電路系統板布局圖。應用領域:
- 網絡通訊平臺:如蜂窩移動通信基站、手機軟件定位無線路由電(SDR)等。 - 中醫藥學影像機器設備:如超聲波、CT掃描機等。 - 好成績辨率視頻體統:采用播報和專業課程視頻處置。 - 測試方法和量測儀器設備:如頻譜深入測試儀、在線深入測試儀等。深圳市立維創展科技是ADI的生產商商商。ADI存儲芯片護膚品生產商:擴大器、線性網絡護膚品、數據表格變為器、音頻圖片護膚品、光釬寬帶寬帶護膚品、石英鐘和自動IC、光釬寬帶和光釬寬帶通信網絡護膚品、交流電源接口和間隔時間、MEMS和感知器、交流電源和熱經管、代理器和DSP、rf射頻和空間圖形代理器、啟閉和分路器等。
大部位產品,均給予現貨平臺存儲供貨期。*部位產品型號需申請表銷往經營許可資料 ,喜愛聯系!!!