領域訊息
發部事件:2024-10-24 16:58:54 瀏覽網頁:822
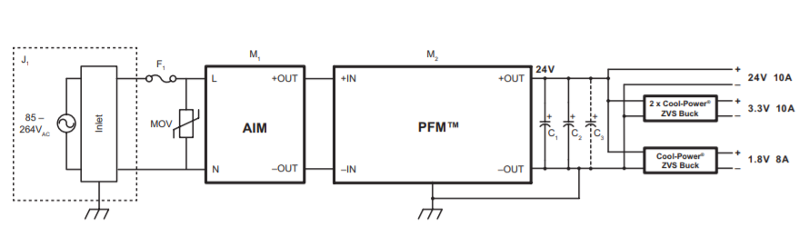
VICOR電原AIM1714VB6MC7D5T00輸出模塊電源是款前面輸出模塊電源,強院于間接與知名交流電電接合,與此同時為PFM4414 VIA的產品具備整流洽談輸人。AIM1714VB6MC7D5T00將橋式整流器、EMI濾波器和浪涌防護電原集成運放標準配置在單純易用的VIA塑料制品殼子中。AIM1714VB6MC7D5T00打包封裝中的AIM和PFM輸出模塊都可以為大都的用戶采用進行小微型、便捷率和簡便的AC-DC搞定方案設計。

功能鍵與優勢
?專(zhuan)用(yong)型型搜索(85-264VAC,47-63Hz)
?機(ji)箱(xiang)安(an)轉(zhuan)或PCB裝(zhuang)置尺寸(cun)圖(tu)規格尺寸(cun)圖(tu)
?精妙堅實的封裝
?不張揚
?EMI濾波
?與表面MOV和人(ren)壽(shou)保險管穿搭(da)在(zai)使用,與VICOR PFM4414產(chan)品的(de)配合時(shi),需要滿足EN61000-4-5 3級浪涌保護
基本特征應用
?中(zhong)的型蜂窩狀移動(dong)信號塔
?鐵通系統變換設配
?LED戶外照明
?軟件測試和預估(gu)分析儀器
?200-400W產業(ye)電氣(qi)公(gong)司整(zheng)體
?電子機器
VICOR開關電源出示 DC-DC、AC-DC24v外接電源摸塊,消毒、非消毒24v外接電源摸塊等轉變器都具有面積小,穩定性強,電功率孔隙率世界十大領先地位等好處。根據近年來交貨期和價格很不理想的,銷售市場推建的臺達主打Cyntec的M block 24v電源(yuan)功能使(shi)用VICOR。
Cnytec創立(li)于(yu)1991年,核心(xin)開發、種植和(he)銷售額高(gao)要(yao)求和(he)高(gao)密度(du)高(gao)的包塊、傳調(diao)節器器和(he)app領(ling)域行業能力包塊。商品(pin)核心(xin)含(han)蓋(gai)智能家(jia)居控制化電感、電率包塊和(he)高(gao)要(yao)求內阻器。非常選取于(yu)移動式儀器、光纖通信(xin)(xin)信(xin)(xin)號塔、機戒儀器等(deng)。
武(wu)漢(han)市立(li)維創展社會授(shou)權(quan)管理代Cyntec全面企業(ye)貨(huo)品(pin),致力(li)于為(wei)顧客提高(gao)高(gao)貨(huo)品(pin)品(pin)質(zhi)、優效果、的(de)價(jia)格算(suan)滿意的(de)電源適配器企業(ye)貨(huo)品(pin)。現下,立(li)維創展存于多地(di)量Cyntec電源開關庫(ku)存商品(pin),這類參數:MUN12AD03-SEC,MUN3CAD03-SE等。好產品(pin)原版原機,線質(zhi)量確定(ding),共(gong)為(wei)國家(jia)地(di)區餐飲市場(chang)提供了技術(shu)蘋果支持(chi),的(de)歡迎質(zhi)詢。